“证券教父”管金生牵手天创时尚开展私募投资旗下投资平台去年营收7.36万元-九颂山河基金
每经记者:曾剑 每经编辑:梁枭
今年6月,曾在“327国债事件”中掀起滔天巨浪、一度入狱的“中国证券教父”管金生出席基金公司的揭幕仪式,以上海九颂山河股权投资基金管理有限公司(以下简称九颂山河基金)董事长的身份亮相。
《每日经济新闻》记者注意到,时隔数月,管金生出现在了A股上市公司天创时尚(603608,SH)的公告中。此番,天创时尚将与管金生旗下投资平台共同开展私募投资,布局相关科技公司。
管金生牵手A股上市公司开展私募投资
据天创时尚12月13日晚间公告,公司全资子公司天津天创服饰有限公司(以下简称天津天服)于11月24日与九颂山河基金签署了合伙协议。根据合伙协议约定,天津天服作为有限合伙人以自有资金出资9999万元认购深圳九颂宇帆投资中心(有限合伙)(以下简称九颂宇帆)99.99%的份额。九颂宇帆其余0.01%股权由九颂山河基金持有。12月10日,九颂宇帆在中国证券投资基金业协会完成私募投资基金备案手续。
此番投资,天津天服为主要的出资人,而九颂山河基金则为九颂宇帆管理人、普通合伙人及执行事务合伙人。
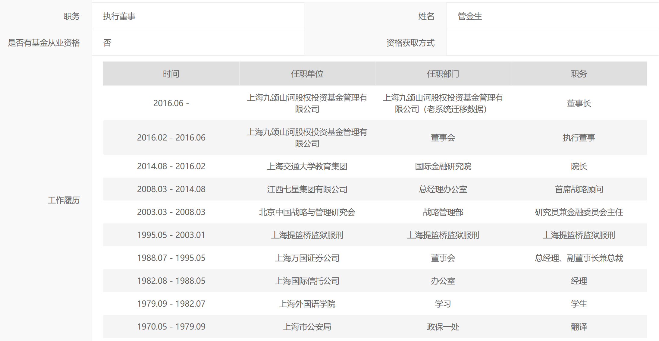
九颂山河基金可谓是大有来头。九颂山河基金注册资本为1500万元,股权结构为:管金生持股82%、熊文辉持股14%、沈梦莹持股3%、卢云清持股1%。
对于管金生的名号,投资者应该多少都有所耳闻。管金生出生于1947年,1988年创立了万国证券,这家起步时只有数千万元资本金的证券公司很快就发展成资产规模数十亿元的综合性公司,创造了中国证券业的一大奇迹。上交所1990年成立时,其交易规则、设备、交易员的培训等都有万国证券参与。彼时,管金生被舆论冠之以“中国证券教父”的称号,一时风头无两。
然而,管金生在1995年的“327国债事件”中遭遇滑铁卢。1995年4月,管金生因为该事件辞职。同年5月,管金生被捕。1997年2月3日,上海第一中级人民法院判处管金生17年徒刑。
记者在中国证券投资基金业协会网站上看到,管金生于1995年5月~2003年1月在上海提篮桥监狱服刑。2003年3月后,管金生曾担任江西七星集团总经理办公室首席战略顾问、上海交通大学教育集团国际金融研究院院长等职务。
图片来源:中国证券投资基金业协会网站截图
今年6月,九颂山河基金在上海市黄浦区揭牌,管金生作为该公司董事长出席揭幕仪式,并引发外界较大关注。“管金生归来”的消息也在网上热了一阵子。实际上,从中国证券投资基金业协会网站披露的信息来看,管金生于2016年2月~2016年6月担任九颂山河基金执行董事,之后长期担任该公司董事长。
将定向投资两科技公司
天创时尚的公告也披露了九颂山河基金的财务数据。截至2020年年末,九颂山河基金资产总额为535.89万元,负债总额为345.79万元,资产净额为190.10万元。2020年度,九颂山河实现营业收入为7.36万元,净利润为﹣93.67万元。据称,九颂山河基金重点覆盖医疗健康、智能制造、网络科技、化工新材料以及碳中和等领域。
据北京青年报6月报道,九颂山河基金核心定位是打造中外合作平行基金。根据规划,初期在中国境内发行10亿元人民币基金,同时在境外某一国家(如日本、美国、德国、以色列)发行等量价值的基金。管金生当时称,希望以平行基金为突破口,“尝试开拓中国私募基金行业的一片新天地”。在选择投资标的方面,九颂山河将聚焦全球范围内新技术和新材料领域,涉及设计、研发、生产、应用和销售等产业链各个环节。
《每日经济新闻》记者注意到,管金生此次牵手天创时尚的投资目标也已明确。九颂宇帆的募资将定向投资于上海驰在互联网科技有限公司、上海腾徽软件科技有限公司股权。“本次投资领域与公司的全资子公司北京小子科技有限公司的主营业务存在协同关系。”天创时尚表示。
按照规划,九颂宇帆在投资后将协调各方资源,对被投资企业赋能,在合适的时机出售全部或部分被投资企业股权,以获取投资收益。
每日经济新闻
版权声明:本文内容由互联网用户自发贡献,该文观点仅代表作者本人。本站仅提供信息存储空间服务,不拥有所有权,不承担相关法律责任。如发现本站有涉嫌抄袭侵权/违法违规的内容, 请发送邮件至 931614094@qq.com 举报,一经查实,本站将立刻删除。